新服办App,作为新疆政务服务一体化平台在全区范围内的唯一官方掌上办事入口软件,集成了“掌上办事”“掌上咨询”“健康码服务”,以及社保、公积金、医保查询等一系列便民服务功能。无论是个人用户还是企业用户,都能在该App上找到已实现线上办理的全部政务服务事项,尽情享受个性化掌上办事服务带来的便捷。此外,新服办软件还涵盖了社区周边美食、酒店、电影、购物等大量商户信息,有需求的用户,欢迎下载体验!
1、政务服务
老年证、再生育证、就业失业登记证、计划生育健康证、五保证等均可在线办理,还能在线查询办事指南,一次就能办好,无需多次奔波!
2、公积金查询
随时随地查询你的公积金,买房、装房心中有数!
3、网上预约挂号
看病心急如焚,排队困难重重,“小事儿”预约挂号在线办理,为您和家人化解挂号难题。
4、公共资源缴费
水费、天然气费、有限电视费、小区宽带在家轻松线上缴费。
1、首页
在首页,用户能够便捷点击诸如社保、医保、公积金等常见热门办事功能模块。
  
 
2、办事
事务种类有着更为细致的划分,同时还存在各类不同的分类。
  
 
3、12345
便民服务热线,聆听并收集每一位民众的反馈。
  
 
4、我的
在此处,用户能够查看自身所办理的事项、投诉进展情况以及预约详细信息等。
  
 
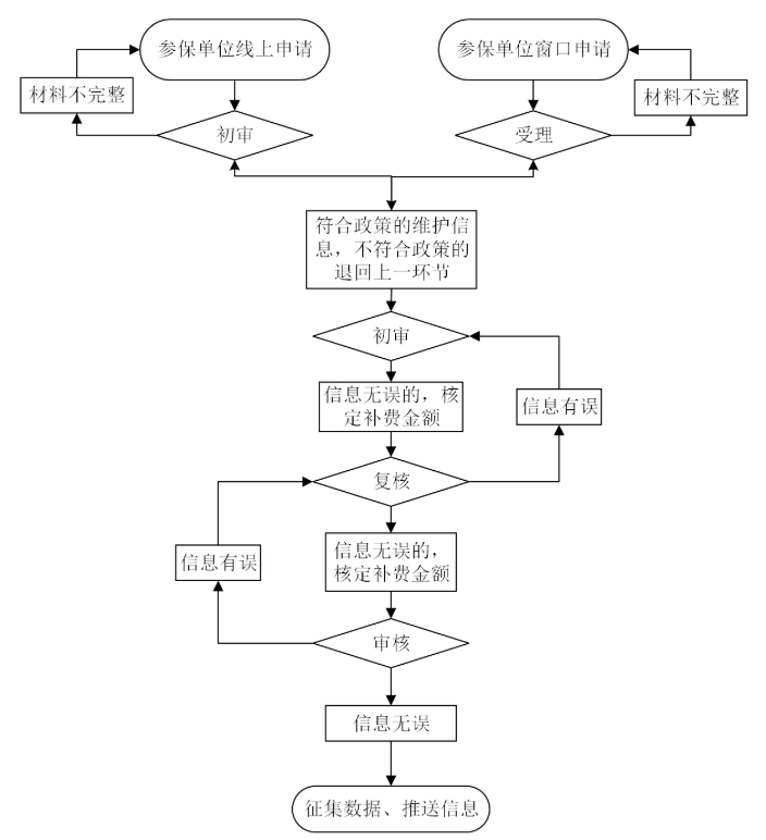
职工社会保险费断缴补缴申报流程图:
  
 
1、一站式政务服务,减少线下排队时间。
2、便民生活服务,提升本地生活便利性。
3、通过政务资讯与互动,提升公众的参与感。
4、全力保障用户信息安全,切实确保业务办理真实且有效。
v3.2.0版本
提升体验,强化稳定性。
请你详细描述一下软件新服办App的特点、功能、使用体验等相关信息,这样我才能为你写出贴合实际且高质量的100字点评。